WATER PLANT OPERATOR TRAINING PROGRAM


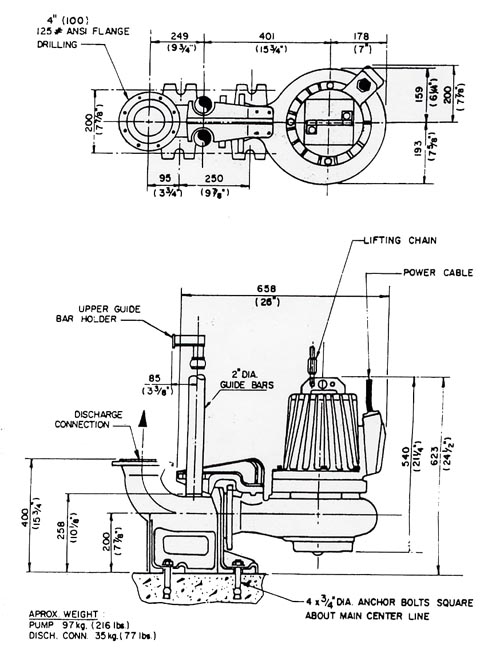
Submersible Pump on Rail System